爱游戏ayx官方网页

XL系列有源零磁通泄漏电流传感器
XL系列有源零磁通泄漏电流传感器 XL系列有源零磁通泄漏电流传感器 XL系列有源零磁通泄漏电流传感器 XL系列有源零磁通泄漏电流传感器

XL系列有源零磁通泄漏电流传感器

  • 产品介绍
  • 常见问题
  • 资质证书
  • 留言咨询
产品概述
 

随着高压电力设备绝缘监测技术的发展,微电流(毫安,微安级)传感器应用越来越广泛,而单匝穿心式微电流传感器由于其原、副边隔离,对设备接线无影响等特点,成为高压设备绝缘在线监测用传感器的首选。对于此种电流传感器,要求其精确度高,有良好的抗电磁干扰能力和长时间的稳定性。传统的无源传感器无法保证相位变换误差的精确度和稳定性,已难以满足要求。采用有源零磁通技术的微电流传感器具备了上述优良性能,能对变压器,电流互感器,电压互感器,耦合电容器,避雷器等高压设备的泄漏电流进行准确测量。

TRXL系列有源零磁通泄漏电流传感器是专门为高压电气设备绝缘在线监测而研制的一种微电流传感器。选用起始导磁率高的材料做铁芯,采用了独特的深度负反馈技术和多层金属屏蔽措施,能够对铁芯全自动补偿,使铁芯工作在理想的零磁通状态。该传感器能够准确检测100μA—700mA的工频电流。相位变换误差不大于0.01°,具有良好温度特性和电磁场干扰能力,完全满足复杂的电站现场干扰下的设备取样的精确度。

产品特点
 

可准确测量μA级电流,测量精度高,线性度好

多重屏蔽,抗干扰能力强,能在复杂环境下工作

可选端子输出或航空插输出

特殊防水防锈蚀金属外壳,环氧树脂封灌,可在户外长期工作

应用范围
 
变电设备在线监测:变压器铁芯接地在线监测;高压套管绝缘在线监测;金属氧化锌避雷器绝缘在线监测;电流、电压互感器与电容器在线监测;高压带电显示器。
性能指标
 
电气
性能
参数
电气符号 性能参数 小信号测量(有源)
IN 额定输入 500mARMS
IP 可测范围 0.1mA~1A
VOUT 额定输出 3.53VRMS
X 准确度@IPN 0.05%
εL 线性度 ≤0.05%
Uc 供电电压 ±12V
Voff 失调电压 1mV
IC 最大耗电 10mA
f 工作频率 50~400Hz
TA 工作温度 -40℃~+85℃
TS 储藏温度 -40℃~+100℃
机械
结构
参数
外    壳 金属外壳 输出方式 接线端子/防水航插
铁芯材质 纳米晶/坡莫合金 封    灌 柔性硅胶&环氧树脂
磁屏结构 碳钢/坡莫合金 施工方案 底座安装固定
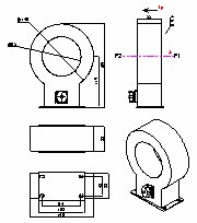
产品选型(规格、外形、安装尺寸、端子/引线定义)
 
产品实物图片 型号 规格 外形安装图

XL-1A  80-42-110(φ26)
TRXLW-1T 10mA/10μA
20mA/20μA
TRXL-1T 5mA/5V
10mA/1V
700mA/7V
1A/5V
200mA/5V-1A/5V
   
   

XL-1B  80-42-110(φ26)
TRXL-1TW 10mA/1V
TRXL-1TW 0.5(20A)/3.53V
TRXL-1TW 700mA/7V
TRXL-1TW 700mA/7V
  20A/20mA
TRXL-1TW 10mA/1V
  20A/20mA
TRXL-1TW 700mA/7V
  50A/50mA
产品实物图片 型号 规格 外形安装图

  XL-9  55-105-45(φ55)
TRXL-55W 1(10)A/3.53V
TRXL-55W -0.5(20)A/3.53V
   
   
   
   
   
   
   

 XL-10  60-105-45(φ60)
TRXL-60W -0.5(10)A/7V
TRXL-60W 10A/7V
TRXL-60W 700mA/7V
TRXL-60W -0.5(30)A/3.53V
TRXL-60W 0.05(0.7)A/3.53V
TRXL-60W 0.7(10)A/3.53V
   
   
   

XL-11 60-150-73-167(φ60)  
TRXL-60TW 10A/10mA
   
   
   
   
   
   
   
   

XL-12  85-140-55(φ85)
TRXLW-85 5mA/5μA
TRXL-85W -0.5(30)A/3.53V
   
   
   
   
   
   
   
产品实物图片 型号 规格 外形安装图

XL-15  150-200-45(φ150)  
TRXL-150W 100mA/5V
TRXL-150W 1A/5V
TRXL-150W AC200mA/DC2V
TRXL-150W AC500mA/DC5V
   
   
   
   
   
 
XL-17  □80-20-60  
TRXL-802060W 10mA/2.12V
   
   
   
   
   
   
   
   
 
XL-18  70-70-120(φ30)
TRXL-30 10mA/1V 40A/1A
   
   
   
   
   
   
   
   

 XL-21  75-140-55(φ75)
TRXL-75W -0.5(30)A/3.53V
   
   
   
   
   
   
   
   

注:可按客户的要求定制(穿心孔径、外形尺寸、参数变比)

湖北天瑞电子股份有限公司的主营产品有:电流互感器、电压互感器、电流变换器、电压变换器、霍尔传感器等,希望可以帮到你。

天瑞公司现有三大业务领域分别是:继电保护与自动化、智能电网、新能源。其中,继保领域主要目标市场为:电量传感器、GPS同步时钟源;智能电网领域主要目标市场为:数显电力仪表、高压电能计量装置;新能源领域主要目标市场为:太阳能和风电转换装置、新能源电池监控装置等。

以满足客户需求为工作焦点,关注产品质量,提倡产品标准化,使经营业绩得到了蓬勃发展。近五年销售收入年均增幅为35%,高出行业增长水平20个百分点。 天瑞公司现有三大业务领域分别是:继电保护与自动化、智能电网、新能源。其中,继保领域主要目标市场为:电量传感器、GPS同步时钟源;智能电网领域主要目标市场为:数显电力仪表、高压电能计量装置;新能源领域主要目标市场为:太阳能和风电转换装置、新能源电池监控装置等。公司自成立之初,就致力做好做精做强电力电子产业,积极承担社会责任,高度重视人才培养,现已成为行业内广受尊重的企业之一。

2006年被推选为中国电器工业协会理事单位 2010年被评定为国家高新技术企业 2013年被中华全国总工会评为“工人先锋号”,被授予湖北省名牌 2014年被中国电子工业协会评为“全国电子信息行业最具社会责任企业”称号 2015年被授予湖北省著名商标2017年被评定为“中国驰名商标”

湖北天瑞电子股份有限公司从1998年在湖北省天门市成立, 有着超过20年的技术开发和生产管理的经验积累。

电流互感器是由闭合的铁心和绕组组成。它的一次绕组匝数很少,串在需要测量的电流的线路中,因此它经常有线路的全部电流流过,二次绕组匝数比较多,串接在测量仪表和保护回路中,电流互感器在工作时,它的二次回路始终是闭合的,因此测量仪表和保护回路串联线圈的阻抗很小,电流互感器的工作状态接近短路。

按照用途不同,电流互感器大致可分为两类 : 测量用电流互感器:在正常工作电流范围内,向测量、计量等装置提供电网的电流信息。 保护用电流互感器:在电网故障状态下,向继电保护等装置提供电网故障电流信息。

剩余电流互感器是漏电保护器的检测元件,它的主要功能是检测通过互感器铁心的主电路的剩余电流(触电、漏电等接地故障电流),并将一次回路的剩余电流变换成二次回路的输出电压。剩余电流互感器是漏电保护器中最关键的部件之一。

电压传感器的原理: 对于交流电压测量,可用电压互感器作为传感元件,即使用一台电压互感器将被测电压降至到可利用的低电压,然后通过相关电路变换成与被测电压成线性关系的直流电压送入到数据采集系统和A/D转换器。 当被测电压为直流电压时,可用分压电阻作为传感元件,并联在被测元件两端的电阻值应足够大(一般应控制在消耗功率小于被测电机额定功率的1/1000以下)),以尽可能地减少该回路电流产生的损耗给测量值造成的影响,对于低压电机,应在10KΩ左右。取该被测电压在电阻上的一部分电压降作为信号,直接送入到数据采集系统和A/D转换器。

电压传感器的作用是自动检测电压,从而使我们能够对设备或系统的电压进行控制和显示,必要时采取过电压、欠电压等自动保护措施。
环境管理体系认证证书-中文
质量管理体系认证证书-中文
职业健康安全管理体系认证证书-中文
CE
IATF16949
REACH
REACH
RoHS
感谢您的留言,我们将尽快与您联系!

联系我们

服务热线:400-086-3003

电话: 5353117

传真:

邮箱:

地址:湖北省天门市经济开发区创业大道8号

天瑞电子微信公众号
天瑞电子微信公众号
感谢您的留言,我们将尽快与您联系!